
Иван Костин объясняет принцип работы переезда
Отвечая на вопрос журналистов, откуда он черпает идеи, известный в нашем городе изобретатель Иван Костин признался – за работу над проектом берется тогда, когда его что-то поразит. На этот раз пищу для размышлений, воплотившихся в новом изобретении, дали участившиеся в последнее время трагедии на железнодорожных переездах. Пораженный сообщениями о страшных авариях, Иван Петрович с присущей ему энергией взялся за разработку такой конструкции переезда, которая смогла бы обеспечить максимальную безопасность водителей и их пассажиров.
«Идея заключается в том, чтобы надежно перегородить дорогу и не дать водителям возможности пересекать железнодорожный переезд в то время, когда идет поезд, – рассказывает Иван Петрович. – Нынешние шлагбаумы ненадежны, их можно объехать или даже снести. Люди адекватные этого делать, конечно же, не станут, но практика показывает, что на здравый смысл водителей далеко не всегда можно положиться».
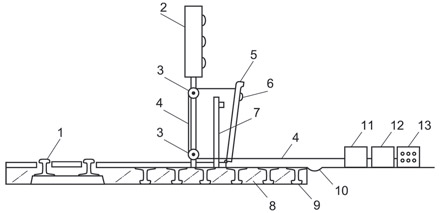
Роль «крышки», перегораживающей дорогу, выполняет лист рифленого железа. С одной стороны при помощи навесов он крепится к другому, неподвижному горизонтальному листу. Противоположная сторона остается свободной, к ее углам при помощи болтов или крючков присоединяется трос. Когда переезд открыт, «крышка» лежит на земле (вернее, на специально подготовленной основе, куда для жесткости кладут три перевернутых рельса, а пространство между ними бетонируется). Но когда приближается поезд, лист железа при помощи троса поднимается и перекрывает дорогу. «Машина не проедет, собака не пробежит, птица не пролетит», – шутит Иван Петрович.
Чтобы «крышка» не «откинулась» дальше, чем положено, предусмотрены специальные фиксаторы. Также на переезде располагаются маяки – световая сигнализация, предупреждающая водителя о приближающемся поезде. Но это не единственные средства, позволяющие обратить внимание водителя на то, что он въезжает в зону повышенной опасности. Так, с нижней стороны «крышки» расположены маячки-катафоты. Ночью они отражают свет фар и показывают, что «крышка» поднята, следовательно, переезд закрыт. Кроме того, поперек дороги делается небольшое углубление в земле. Когда колеса машины попадают в этот желобок, чувствуется легкий толчок – водитель волей-неволей сосредоточится и сбавит скорость, даже если он не заметил остальных предупреждающих сигналов. Стоит добавить, что система приводится в действие при помощи электромотора, когда дежурный по переезду нажимает кнопку на пульте управления.

Схема железнодорожного переезда: 1 – железнодорожный путь; 2 – световая сигнализация; 3 – ролики; 4 – трос; 5 – «крышка» (в поднятом состоянии); 6 – светоотражающие «маячки»; 7 – фиксатор; 8 – бетон; 9 – перевернутые рельсы; 10 – желобок; 11 – редуктор; 12 – электромотор; 13 – пульт управления
Безопасный переезд – далеко не единственное изобретение Ивана Костина. Причем практически все плоды его творческой мысли так или иначе связаны со спасением человеческих жизней. «Я работаю для того, чтобы спасать людей, а не убивать. Некоторые создают оружие, бомбы, а я всегда хотел людям помочь», – делится с нами Иван Петрович.
Желание помочь вылилось в создание гибкой лестницы, позволяющей людям самостоятельно выбираться из горящих многоэтажек. Также в активе изобретателя – спасательная подушка и газотеплозащитный костюм с запасом воздуха на 30 минут, выдерживающий температуру до 500 градусов Цельсия. На все изобретения у автора имеются патенты. Но узаконить свое творение и запустить его в производство – это, как говорится, две большие разницы. «Все говорят, что лестница хорошая, что сами не против иметь такую же у себя, а до массового производства дело никак не доходит», – сетует Иван Петрович. И тем не менее стучится в высокие кабинеты, получает одобрения в солидных институтах, даже размещает объявления на страницах интернет-биржи – словом, не оставляет попыток воплотить задуманное в жизнь.
Получать патент на свое новое изобретение, безопасный железнодорожный переезд, Иван Костин не собирается – здоровье не позволяет. Но он очень надеется, что нашу публикацию прочтут неравнодушные люди, которые смогут оказать содействие в реализации его идеи на практике – особенно для Ивана Петровича важно мнение руководства Донецкой железной дороги. О финансовой стороне дела изобретатель также говорить не берется. Но он уверен в одном – человеческая жизнь в любом случае гораздо дороже.
Елена Агаркова, «Орбита»
